傳統壓力容器端闆适配器

iLEC™陶氏膜元件與傳統壓力容器端闆适配器完全兼容,在仍使用傳統壓力容器端闆适配器安裝iLEC陶氏膜元件的最後一支膜元件(1)時,須保證膜元件的下遊端面頂住抗應力器(2),這樣膜元件才能被壓力容器适配器(3)及抗應力器同時有效地支撐住。

iLEC端面自鎖(suǒ)連(lián)接壓力容器端闆适配器
如下圖所示,安裝陶氏膜元件的最後一支膜元件(1)時,須保證膜元件的下遊端面頂(dǐng)住抗應力器(2),這樣膜元件才能被壓力容器适配器(3)及抗應力器同時有效地支撐(chēng)住。

特别提醒:
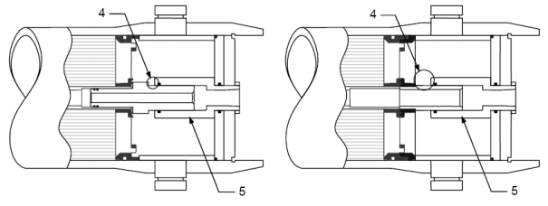
如下圖所示,若将陶氏膜元件進水方向安裝反瞭(le),在壓力容器端闆出水口(5)和端闆适配器之間将會出現較大間隙(4),運行時該陶氏膜元件無法得到恰當的支撐(chēng)分散水流的推力,将會發生望遠鏡狀膜元件損壞。

傳統壓力容器端闆适配器
陶氏膜元件與傳(chuán)統壓力容器端闆适配器完全兼容,最後一支膜元件(1)的下遊端面須頂住抗應力器(2),這樣膜元件才能有效地被壓力容器适配器(3)及抗應力器同時支撐(chēng)住。